Rahmendichtung DEVENTER DS 6922 / DS 6955 / DS 6988



12.647.51-76



prev
next

Rahmendichtung DEVENTER DS 6922 / DS 6955 / DS 6988
12.647.51
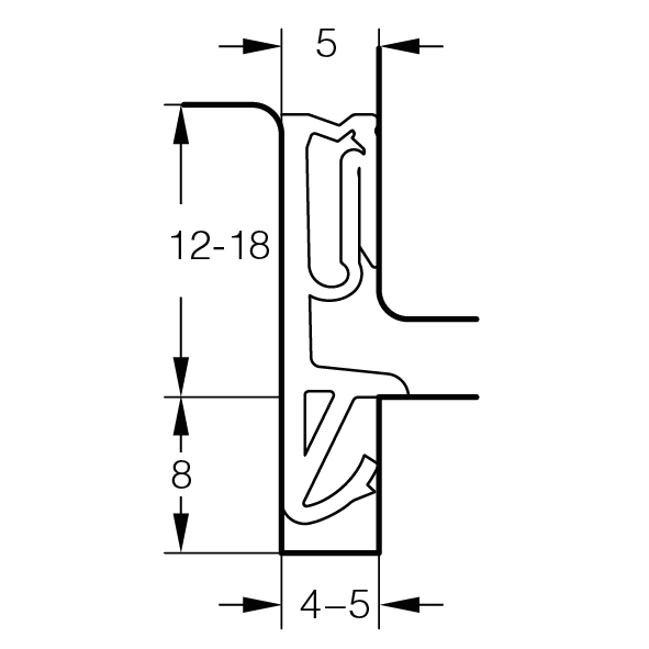
Silikon-Qualität, für Haustüren mit ungünstigem Drehpunkt, z.B. stumpf eindrehende Türen mit Tectusband, einzigartiger softweicher Schliessdruck, weiche Beschichtung, optimale Montage und sicherer Halt durch neue Fusskontruktion, Anschlagluft 5 mm
- ¦ = Verkauf nur in ganzen Packungen.
Preis per 1 MT | Pack 25 MT
Meter
- Anschlagluft
- 5 mm
- Fabriknummer
- DS 6922
- Falzbreite
- 12 mm
- Farbe
- weiss
- Grosspackung
- 50
- Marke
- Deventer
- Material
- Silikon
- Nutbreite
- 5 mm
- Nuttiefe
- 8 mm
- Packung
- 25
- Produktart
- Rahmendichtung