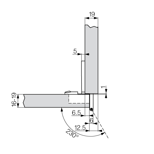
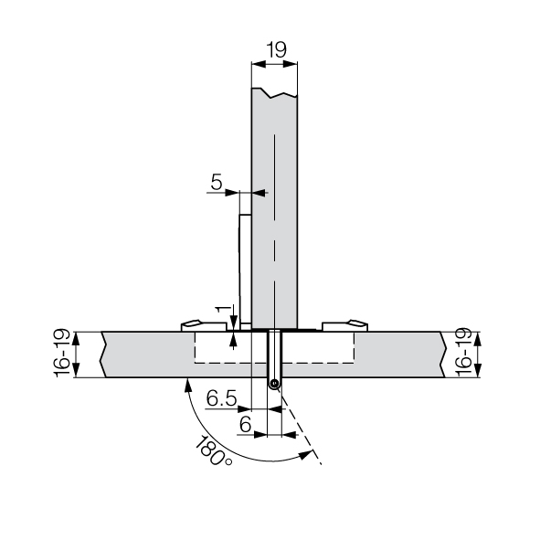
Einachsscharnier GRASS® mit sichtbarer Achse, mit schmalem Fugenbild, Fuge 6 mm







44.500.02-06







prev
next

Einachsscharnier GRASS® mit sichtbarer Achse, mit schmalem Fugenbild, Fuge 6 mm
44.500.
Zink matt vernickelt, Öffnungswinkel 230° bzw. 180°, Fuge 6 / 12,5 mm, werkzeuglose Tür-Clipmontage, Seitenverstellung - 2 mm, Höhenverstellung über Langlöcher +/- 2 mm
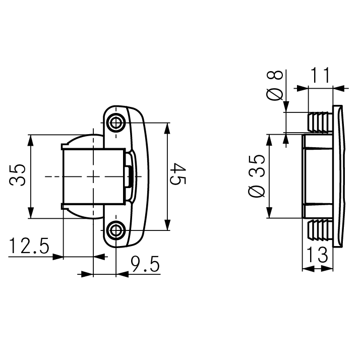
- Einbohrtopf siehe 44.500.51+52
- Einachsscharnier Zubehörteile siehe 44.510.
- Euroschrauben siehe 69.484.10+13
- Bei Zwillingsbändern werden pro Scharnierarm 2 Einbohrtöpfe benötigt.

- Material
- Zink
- Produktart
- Einachsscharnier
- Marke
- Grass
- Oberfläche
- matt vernickelt






