Einfräs-Möbelband PRÄMETA, Öffnungswinkel bis 180° für aufliegende Türen, ohne Rahmenteil





44.562.11





prev
next

Einfräs-Möbelband PRÄMETA, Öffnungswinkel bis 180° für aufliegende Türen, ohne Rahmenteil
44.562.
Ganzmetall vernickelt, nur auf Türkante sichtbar, 2D-Verstellung mittels 2 Madenschrauben,
Frästopfbefestigung für Spanplattenschrauben SK Ø 3,5 mm, ohne Schrauben
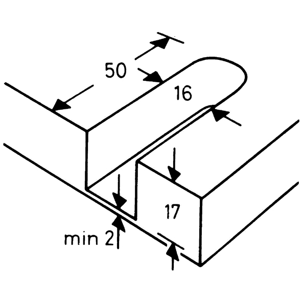
Frästopf-Länge/-Breite: 50 / 16 mm
Frästiefe: 17 mm
seitenverstellbar: 8 mm
tiefenverstellbar: 4 mm
Türdicke: 19 - 22 mm
Seitendicke: 16 - 24 mm
- Rahmenteil siehe 44.562.51 und 44.562.55+56

- Produktart
- Einfräs-Möbelband
- Marke
- Prämeta
- Bandtyp
- Eckband
- Öffnungswinkel
- 180°
- Fabriknummer
- 591 ORT


