Rahmendichtung DEVENTER DS 112a / DS 155a / DS 185a



12.647.01-26



prev
next

Rahmendichtung DEVENTER DS 112a / DS 155a / DS 185a
12.647.
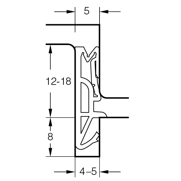
Silikon-Qualität, für Haustüren, Anschlagluft 5 mm
- ¦ = Verkauf nur in ganzen Packungen.

- Marke
- Deventer
- Produktart
- Rahmendichtung
- Anschlagluft
- 5 mm
- Nutbreite
- 5 mm
- Nuttiefe
- 8 mm
- Grosspackung
- 50
- Material
- Silikon
