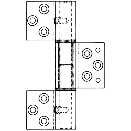
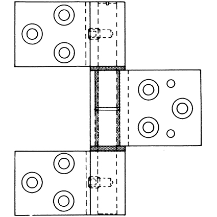
Scharnier für Trennwandkonstruktionen


12.022.05


prev
next
Scharnier für Trennwandkonstruktionen
12.022.
Aluminium farblos eloxiert, unmontiert, für Trennwände, mit Schrauben
- 1 Scharnier bestehend aus: je 1 Mittel-, Ober- und Unterteil, Ausziehdorn, 2 Führungen, 2 Fixierschrauben und Schrauben.
- Rollenlänge
- 107 mm

