Horloge de distribution numérique GRÄSSLIN talento smart B15



17.588.61



prev
next
Horloge de distribution numérique GRÄSSLIN talento smart B15
17.588.
passage pratique et automatique de l'heure d'été à l'heure d'hiver, protection optimale contre les manipulations grâce à un boîtier scellable, protection optimale contre les manipulations grâce à un code PIN
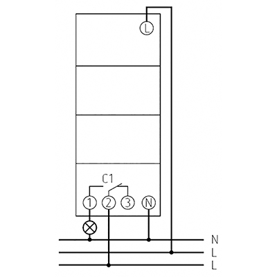
- Horloge numérique avec programme hebdomadaire
- 1 canal
- Programmation d'applications possible
- Fonction marche/arrêt
- Programme hebdomadaire
- Programmable par Bluethooth
- Fonctionnement annuel
- No d'article
- 17.588.61
- Numéro d'usine
- 430200011
